PA捕鱼官方网站

SD8114

Operating Voltage

2.4~3.6V

2.4~3.6V

Operating Current

1mA

1mA

ADC ENOB

18.6bits@8sps
Gain = 100

18.6bits@8sps
Gain = 100

Peripherals

--

--

Package

QFN32

QFN32
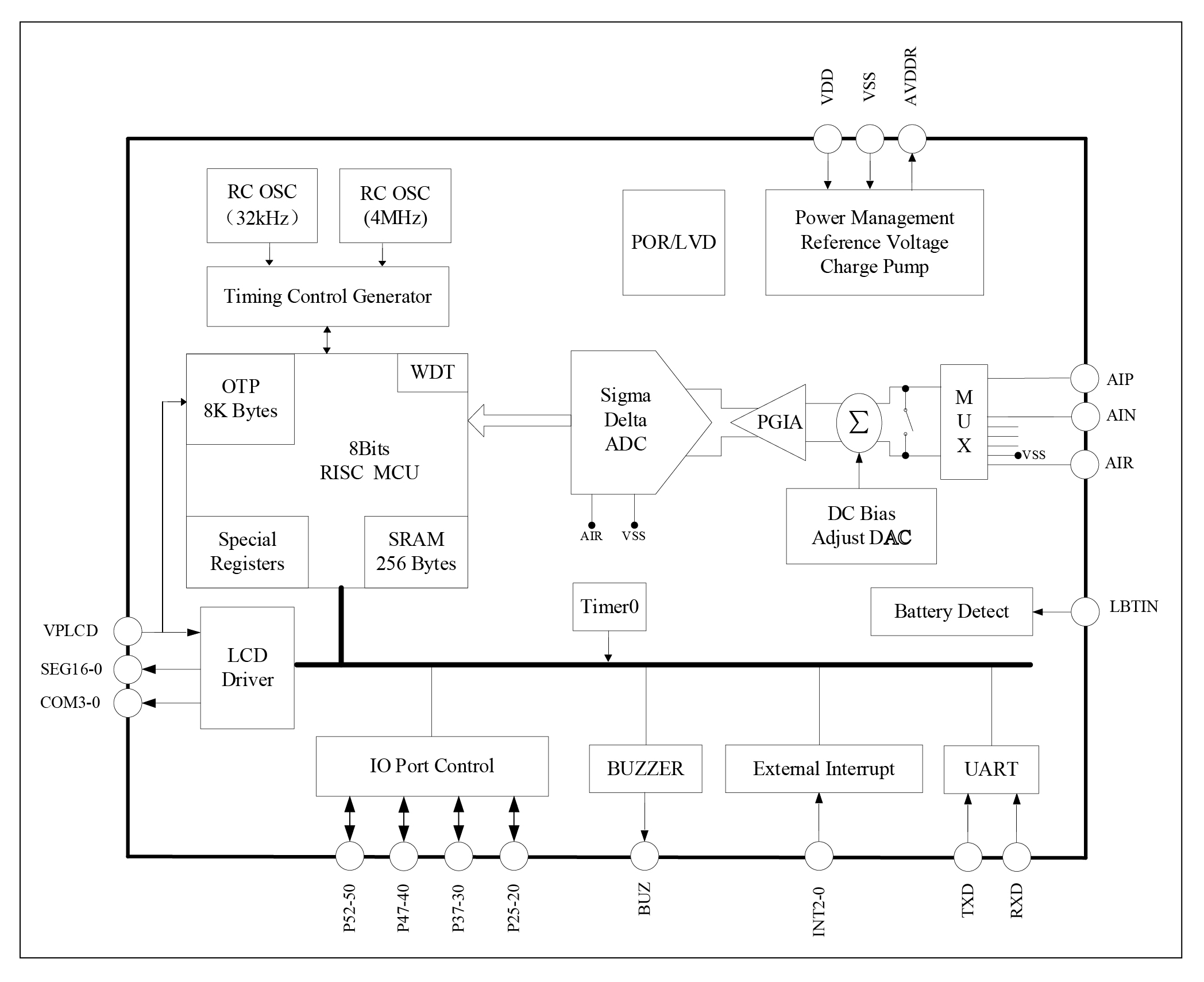
IC Introduction

        The IC is a CMOS SoC product with 20 bits high-precision ADC and 8k Bytes OTP program memory. The built-in OTP has low programming voltage at 2.4~3.6V. It can be used in place of external EEPROM. Only four external capacitors are needed to implement a pressure sensor based measuring instrument using SD8114
        The ultra-low power design operates at 2MHz clock rate that originates from an 4MHz internal RC oscillator. At 3V supply, the total typical operating current is 1mA (external transducer driving current not included). Such low current consumption is very suitable for battery powered applications.
        Three working modes are provided so users can select the optimum choice between speed and power. They are normal mode, standby mode, and sleep mode.

IC Features
  • High precision ADC, ENOB=17.6 bits@8sps, 1 differential or 3 single-ended inputs

  • Low noise, high input impedance preamplifier with selectable gain: 1, 12.5, 50, 100, or 200

  • 8 bits RISC low power MCU, 49 instructions and 6 stack levels. The MCU current consumption is 800uA typically at 3V and 2MHz operating clock rate. Standby current is 2μA at 32kHz clock, and less than 1μA at sleep

  • 8k Bytes OTP program memory storage, 256 Bytes SRAM data storage

  • Low OTP programming voltage at 2.4~3.6V, can replace external EEPROM

  • Internal RC oscillator, no external clock needed

  • 8 bits interrupt timer

  • Built-in 1 channel UART communication port

  • Built-in temperature sensor, supports single point calibration

  • 17SEG X 4COM LCD drive, programmable boost module to maintain luminance at low supply voltage

  • LCD driver supports 1/2BIAS and 1/3BIAS modes

  • Selectable voltage source for external transducer excitation: 2.4V/2.6V/2.9V/3.3V

  • Flexible battery voltage detection: 2.0~3.3V

  • All logic inputs are Schmitt triggered with optional pull up resistor

  • Watch Dog Timer

  • Low voltage detection and power on reset circuit

  • Operating voltage range: 2.4~3.6V

  • Operating temperature range: -40~85˚C

IC Block Diagram
Application area

Portable Scale

Tire Pressure Scale

Related Products Recommendation

Product Series

Sample Requests
and Purchase

Product
Directory

Please fill in a real and valid email address!